PVC-U H44F-10U Supapă de reținere tip balansoar DN15-300 1/2"-12" Standard ANSI

Preț competitiv Supapă de reținere oscilantă PVC-U Stil napolitană Supapă din plastic DN15–DN300 pentru drenaj și industria chimică Standard ANSI
Origine: China
Marca: KXPV
Model: H44F-10U
Aplicație: generală
Material: plastic
Temperatura medie: Mediu, Ambient
Presiune: presiune medie
Alimentare: manuală
Mediu: acid
Dimensiunea portului: DN15–DN300
Structură: supapă de reținere
Nume produs: supapă de reținere pentru napolitană
Timp de livrare: 7 zile
Cantitate minima de comanda: 1 bucata
Culoare: Gri
Capacitate de aprovizionare: 10.000 bucăți/lună

Clasa de presiune: 1.0Mpa(10bar)

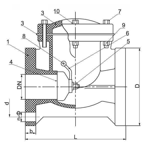
Caracteristici structurale ale produsului

1.Previne refluxul lichidelor, protejând pompele și alte echipamente.
2. Ca supapă de reținere de tip cantilever, generează o rezistență minimă la fluid.
3. Fabricat din materiale plastice, oferind o rezistență excelentă la coroziune la fluide acide, alcaline și alte fluide corozive.
4. Corpul supapei poate fi scos din conductă, iar capacul supapei poate fi deschis pentru inspecție și întreținere internă.

Lista legată de temperatură a aplicației

Material Temperatura medie℃ Material Temperatura medie℃
PVC-C -20℃~ 95℃ PVC-U -5℃~ 45℃
FRPP -20℃~ 120℃ PPH -20℃~ 110℃
PVDF 40℃~ 150℃

Tabelul Materialului Piesei
Nu. Nume Material Cant.
PVC-C PVC-U PVDF PPH FRPP
1 Corpul PVC-C PVC-U PVDF PPH FRPP 1
2 Capota PVC-C PVC-U PVDF PPH FRPP 1
3 Cauciuc de etanșare FPM EPDM FPM EPDM 1
4 Ușă PVC-C PVC-U PVDF PPH FRPP 1
5 Șurub de reținere PVC-C PVC-U PVDF PPH FRPP 1
6 Rocker PVC-C PVC-U PVDF PPH FRPP 1
7 Șurub Oțel Oțel SS Oțel 6-16
8 Biela PVC-C PVC-U PVDF PPH FRPP 1
9 nuca Oțel Oțel SS Oțel 6-32
10 Platon Oțel Oțel SS Oțel 1

Lista de dimensiuni

Caietul de sarcini d(mm) D(mm) L(mm) b(mm) n-Φ(mm)
1/2"(15) 60 115 160 18 4-Φ16
3/4"(20) 70 115 160 18 4-Φ16
1"(25) 79 115 160 18 4-Φ16
1½"(40) 98 145 170 20 4-Φ16
2"(50) 121 160 200 21 4-Φ19
2½"(65) 140 180 240 25 4-Φ19
3"(80) 152 197 265 26 8-Φ19
4"(100) 191 215 300 26 8-Φ19
5"(125) 216 250 350 30 8-Φ22
6"(150) 241 280 400 30 8-Φ22
8"(200) 299 340 500 30 8-Φ22
10"(250) 362 390 575 38 12-Φ25

Feedback despre mesaj
Despre noi
Kaixin Pipeline Technologies Co., Ltd.
Fondată în 1999, Kaixin Pipeline Technologies Co., Ltd. este o întreprindere de înaltă tehnologie care integrează cercetare și dezvoltare, producție, vânzări și servicii. Compania deține mai multe certificări prestigioase, inclusiv National High-Tech Enterprise, „Little Giant” Specialized and Sophisticated SME, National Single Product Champion (Cultivare), National Technology-based SME, Ningbo Specialized and Sophisticated SME, Ningbo Single Product Champion (Cultivation), Ningbo Polymer Pipe & Valve Technology R&D Center, District-Level Enterprise-Star Green Management, Ningbo Enterprise Management Four-Level Nivelul de maturitate al capacității 2.
Suntem specializați în dezvoltarea, producerea și furnizarea de produse nemetalice rezistente la coroziune pentru aplicații chimice, inclusiv supape din plastic, țevi, fitinguri pentru țevi și pompe rezistente la coroziune. Portofoliul nostru de produse cuprinde materiale precum PVC-C, PVC-U, PVDF, PPH și FRPP, cu o gamă cuprinzătoare de tipuri și specificații. În special, supapele noastre fluture pot atinge DN1000 în diametru, în timp ce țevile și fitingurile se extind până la DN800, abordând lacunele pieței și menținând avantajul nostru competitiv în industrie.
Ghidat de principiul „Tehnologie, ținând pasul cu vremurile”, Kaixin alocă anual aproape 10 milioane RMB pentru cercetare și dezvoltare. Asigurăm calitate superioară a produselor prin producție automatizată standardizată și aprovizionare strictă cu materii prime importate. Aliniați cu strategia noastră de dezvoltare internațională, monitorizăm în permanență tendințele pieței globale și valorificăm canalele digitale pentru a aduce clienților din întreaga lume produse de înaltă calitate „Made in China”.
Ningbo • Baza de cercetare și dezvoltare și producție Fenghua
Cu o investiție totală de 200 de milioane RMB, Kaixin Ultra-Pure Pipe Technology (Ningbo) Co., Ltd. a înființat un nou laborator de materiale în colaborare cu universități și institute de cercetare, a construit o bază de producție modernă și a instalat 8 linii de producție complet automatizate pentru materiale plastice modificate și 8 pentru materiale polimerice. Unitatea este dedicată cercetării și dezvoltării, producției și aplicării noilor materiale plastice modificate și polimeri. Kaixin se angajează, de asemenea, să atragă talente de top în diverse discipline, stimulând continuu inovarea produselor și dezvoltarea mărcii, cu scopul de a deveni un lider recunoscut la nivel global în cercetarea și dezvoltarea și fabricarea de supape, țevi și fitinguri din polimeri.
Certificat de Onoare
  • honor
  • honor
  • honor
  • honor
  • honor
  • honor
  • honor
  • honor
  • honor
Știri